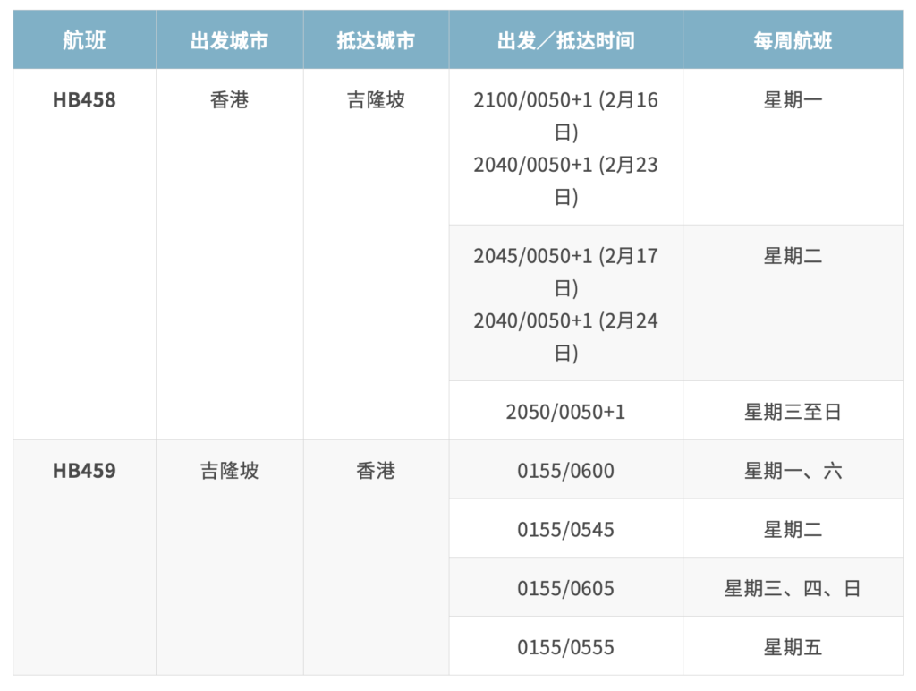
2月13日起,大湾区航空短期开通香港=吉隆坡航线,每天1班 大湾区航空将于2026年2月13日至24日期间推出马来西亚吉隆坡季节性航班服务,以满足农历新年旺季的旅客需求。此航线将于上述期间提供合共12班(每日1班)来往香港与吉隆坡(吉隆坡国际机场)的航班。 2026 年 1 月 5 日 上午 9:17 添加评论 大湾区航空将于2026年2月13日至24日期间推出马来西亚吉隆坡季节性航班服务,以满足农历新年旺季的旅客需求。此航线将于上述期间提供合共12班(每日1班)来往香港与吉隆坡(吉隆坡国际机场)的航班。 大湾区航空的香港—吉隆坡季节性航班详情如下: 此外,包括国泰航空(每天3班)、马来西亚国际航空(每天2班)、马来西亚亚洲航空(每天2班)、马来西亚峇迪航空(每天1班)、香港快运航空(每天1班)也在执飞该航线。 Admin 2026 年 1 月 5 日
发表回复